Торговая марка
основана в 1994 году

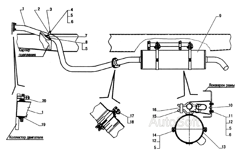
Установка системы выпуска газов, глушитель

Установка системы выпуска газов, глушитель
Метка Каталожный номер Наименование детали Наличие
4 250511-П29 Гайка М8х1-6Н ОСТ 37.001.124-93
Фото Артикул Наименование Модель Ед. Наличие Цена в магазине сегодня Цена интернет магазина
Гайка М8*1,0 БелЗАН-САК. 00000013565 Гайка М8*1,0 БелЗАН-САК. шт 2.07₽ 2₽
В корзину
16 3105-1203163 Амортизатор подвески глушителя и выхлопной трубы
Фото Артикул Наименование Модель Ед. Наличие Цена в магазине сегодня Цена интернет магазина
амортизатор подвески глушителя и выхлопной трубы полиуретановая г.Липецк Газель,Соболь 00000016817 амортизатор подвески глушителя и выхлопной трубы полиуретановая г.Липецк Газель,Соболь СОБОЛЬ шт 71₽ 66₽
В корзину
амортизатор подвески глушителя и выхлопной трубы "БРТ" Газель,Соболь 00000016819 амортизатор подвески глушителя и выхлопной трубы "БРТ" Газель,Соболь СОБОЛЬ шт 40₽ 29₽
В корзину
19 4301-1203360 Прокладка приемной трубы
Фото Артикул Наименование Модель Ед. Наличие Цена в магазине сегодня Цена интернет магазина
прокладка приемной трубы  Газель Газ-560 4301-1203360 00000014957 прокладка приемной трубы Газель Газ-560 4301-1203360 Г-560 шт 86₽ 81₽
В корзину