Торговая марка
основана в 1994 году

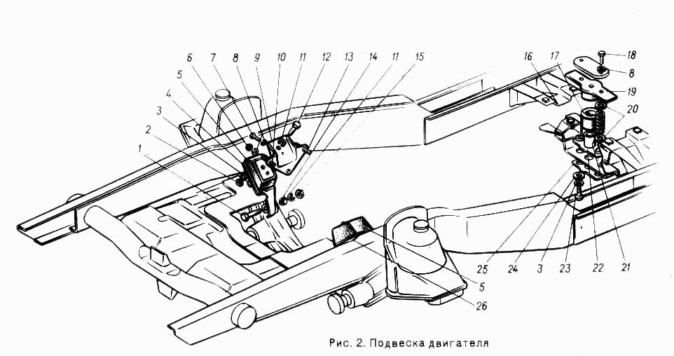
Подвеска двигателя

Подвеска двигателя
Метка Каталожный номер Наименование детали Наличие
2 250511-П29 Гайка М8х1-6Н ОСТ 37.001.124-93
Фото Артикул Наименование Модель Ед. Наличие Цена в магазине сегодня Цена интернет магазина
Гайка М8*1,0 БелЗАН-САК. 00000013565 Гайка М8*1,0 БелЗАН-САК. шт 2.07₽ 2₽
В корзину
1 290862-П29 Болт М12х1,25х45
Фото Артикул Наименование Модель Ед. Наличие Цена в магазине сегодня Цена интернет магазина
болт М12х1,25х45 крепления полуоси заднего моста г.Белебей Волга Газ-2410,31029,3110,31105 290862-П29 00000028338 болт М12х1,25х45 крепления полуоси заднего моста г.Белебей Волга Газ-2410,31029,3110,31105 290862-П29 Волга шт 25₽ 23₽
В корзину