Торговая марка
основана в 1994 году

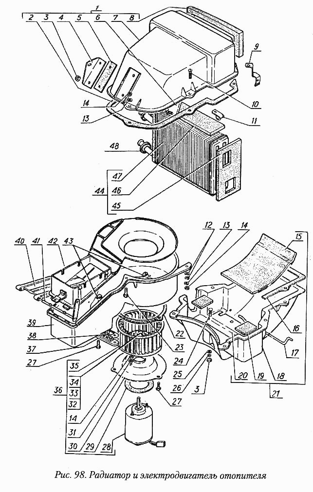
Радиатор и электродвигатель отопителя

Радиатор и электродвигатель отопителя